Samsung AR/VR smart glasses could feature an adjustable hinge system

Samsung’s upcoming AR/VR smart glasses are anticipated to feature an adjustable hinge system for a better fit, as a newly published patent from the United States Patent and Trademark Office reveals.
Recently, Samsung launched its first Galaxy XR headset based on Android XR, powered by Qualcomm’s Snapdragon XR2+ Gen 2 chipset, with an integrated 16GB of RAM and a 256GB internal storage variant. Now, the company is looking forward to launching two smart glasses models, one expected in 2026 and the other in 2027.
A new report from xpertpick revealed that Samsung filed a new patent under the number US 2025/0347929 A1, which describes a next-generation augmented reality wearable electronic device with a specialized hinge and frame system designed to offer enhanced comfort, flexibility, and adaptability for different users.
The patent describes that the company is aiming to enhance ergonomics through a precision-engineered mechanism that adjusts more naturally to various head sizes before exploring further technical design.

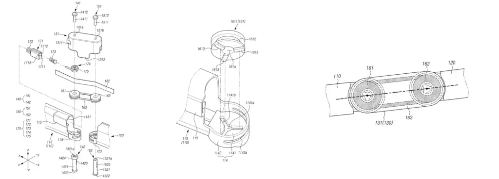
According to the patent, Samsung’s AR/VR smart glasses comprise three primary structural elements, which are as follows –
- A body portion
- A glass-mounting section
- A pair of temple members

All of these elements are connected through a rotatable hinge structure crafted to improve flexibility when the glasses are worn. The hinge module consists of a hinge housing, a first shaft connected to the body, and a second shaft connected to the temple arm.
Since this design is currently only available in patent, it remains to be seen whether the design will come as a commercial product.




